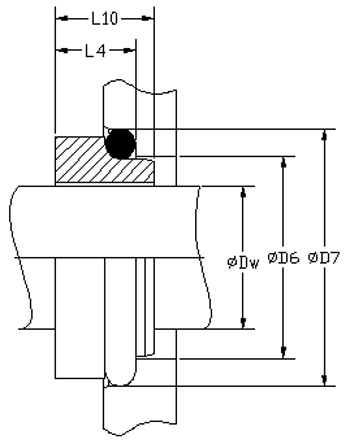
| Dw |
D7 |
L4 |
D6 |
L10 |
| 10 |
21 |
6,6 |
17 |
9,0 |
| 12 |
23 |
6,6 |
19 |
9,0 |
| 14 |
25 |
6,6 |
21 |
9,0 |
| 16 |
27 |
6,6 |
23 |
9,0 |
| 18 |
33 |
7,5 |
27 |
10,0 |
| 20 |
35 |
7,5 |
29 |
10,0 |
| 22 |
37 |
7,5 |
31 |
10,5 |
| 24 |
39 |
7,5 |
33 |
10,5 |
| 25 |
40 |
7,5 |
34 |
10,5 |
| 28 |
43 |
7,5 |
37 |
10,5 |
| 30 |
45 |
7,5 |
39 |
10,5 |
| 32 |
48 |
7,5 |
42 |
10,5 |
| 33 |
48 |
7,5 |
42 |
10,5 |
| 35 |
50 |
7,5 |
44 |
10,5 |
| 38 |
56 |
9,0 |
49 |
11,5 |
| 40 |
58 |
9,0 |
51 |
11,5 |
| 43 |
61 |
9,0 |
54 |
11,5 |
| 45 |
63 |
9,0 |
56 |
11,5 |
| 48 |
66 |
9,0 |
59 |
11,5 |
| 50 |
70 |
9,5 |
62 |
11,5 |
| 53 |
73 |
11,0 |
65 |
14,0 |
| 55 |
75 |
11,0 |
67 |
14,0 |
| 58 |
78 |
11,0 |
70 |
14,0 |
| 60 |
80 |
11,0 |
72 |
14,0 |
| 65 |
85 |
11,0 |
77 |
14,0 |
| 68 |
90 |
11,3 |
81 |
14,0 |
| 70 |
92 |
11,3 |
83 |
14,0 |
| 75 |
97 |
11,3 |
88 |
14,0 |
| 80 |
105 |
12,0 |
95 |
15,0 |
|
|
|
|