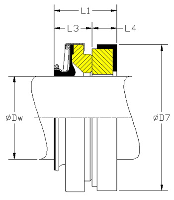
| Dw |
L1 |
L3 |
L4 |
D7 |
| 8 |
19,0 |
11,0 |
8,0 |
26,0 |
| 10 |
19,0 |
11,0 |
8,0 |
26,0 |
| 11 |
19,0 |
11,0 |
8,0 |
26,0 |
| 12 |
19,0 |
11,0 |
8,0 |
26,0 |
| 12a |
21,0 |
13,0 |
8,0 |
26,0 |
| 12b |
21,0 |
13,0 |
8,0 |
35,0 |
| 13 |
21,0 |
13,0 |
8,0 |
26,0 |
| 14 |
21,0 |
13,0 |
8,0 |
35,0 |
| 15 |
21,0 |
13,0 |
8,0 |
38,0 |
| 16 |
21,0 |
13,0 |
8,0 |
38,0 |
| 16a |
21,0 |
13,0 |
8,0 |
42,0 |
| 17 |
21,0 |
13,0 |
8,0 |
42,0 |
| 18 |
21,0 |
13,0 |
8,0 |
42,0 |
| 19 |
21,0 |
13,0 |
8,0 |
42,0 |
| 20 |
21,0 |
13,0 |
8,0 |
42,0 |
| 20a |
23,0 |
13,0 |
10,0 |
45,0 |
| 22 |
23,0 |
13,0 |
10,0 |
45,0 |
| 23 |
24,0 |
14,0 |
10,0 |
50,0 |
| 24 |
24,0 |
14,0 |
10,0 |
50,0 |
| 25 |
24,0 |
14,0 |
10,0 |
50,0 |
| 28 |
25,0 |
15,0 |
10,0 |
57,0 |
| 30 |
25,0 |
15,0 |
10,0 |
57,0 |
| 32 |
25,0 |
15,0 |
10,0 |
57,0 |
| 35 |
26,0 |
16,0 |
10,0 |
63,0 |
| 38 |
29,0 |
17,0 |
12,0 |
68,0 |
| 40 |
29,0 |
17,0 |
12,0 |
68,0 |
| 45 |
32,0 |
20,0 |
12,0 |
73,0 |
| 50 |
38,0 |
23,0 |
15,0 |
88,0 |
| 60 |
45,0 |
30,0 |
15,0 |
110,0 |
| 65 |
45,0 |
30,0 |
15,0 |
110,0 |
| 70 |
47,0 |
32,0 |
15,0 |
110,0 |
|
|
|
|