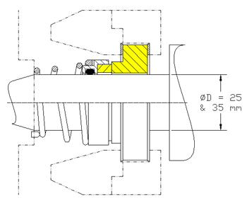
Typ AL 1


einfach wirkend

doppelt wirkend

Gleitring:

Gegenring:
Metallteile:
Nebendichtungen:
Flachdichtungen:
B: Kohle K geschr.
SIC geschr.
SIC
CrNiMo-Stahl
Alle Elastomere
PTFE